Get instant quote

Creating hardware for quantum engineers

Delft Circuits has reinvisioned the cryogenic chain and designed a solution that transports microwave signals from room temperature to milliKelvin using one a flexible multi-channel cabling unit.

Written by Tess Roberts

“We love the network because its platform is so easy to operate and it’s really intuitive. The fast deliveries are great and the direct quoting has kind of set the standards for how we should work in our industry.” - Artem Nikitin, Head of Sales at Delft Circuits

Organization Delft Circuits
Industry Hardware, quantum technology
Technology CNC machining
Materials Copper C110, gold plated

Delft Circuits creates dedicated quantum hardware and has reinvisioned the cryogenic chain. Today, in the industry, every component is separate and often made by different companies. Delft Circuits have taken a new approach and designed a solution that transports microwave signals from room temperature to milliKelvin using one a flexible multi-channel cabling unit.

The quantum computing industry is still in its infancy and experiencing explosive growth. Delft Circuits is seeking to take the lead and define this booming industry’s standards.

The challenge of keeping temperatures low

To sufficiently cool the quantum computing chip, quantum engineers use complex refrigerators to keep temperatures close to absolute zero. However the industry’s challenge is still that qubits very easily heat up which can introduce error.

This is why, when designing their cryogenic i/o chain, Delft Circuits continuously work on reducing the heat transported.

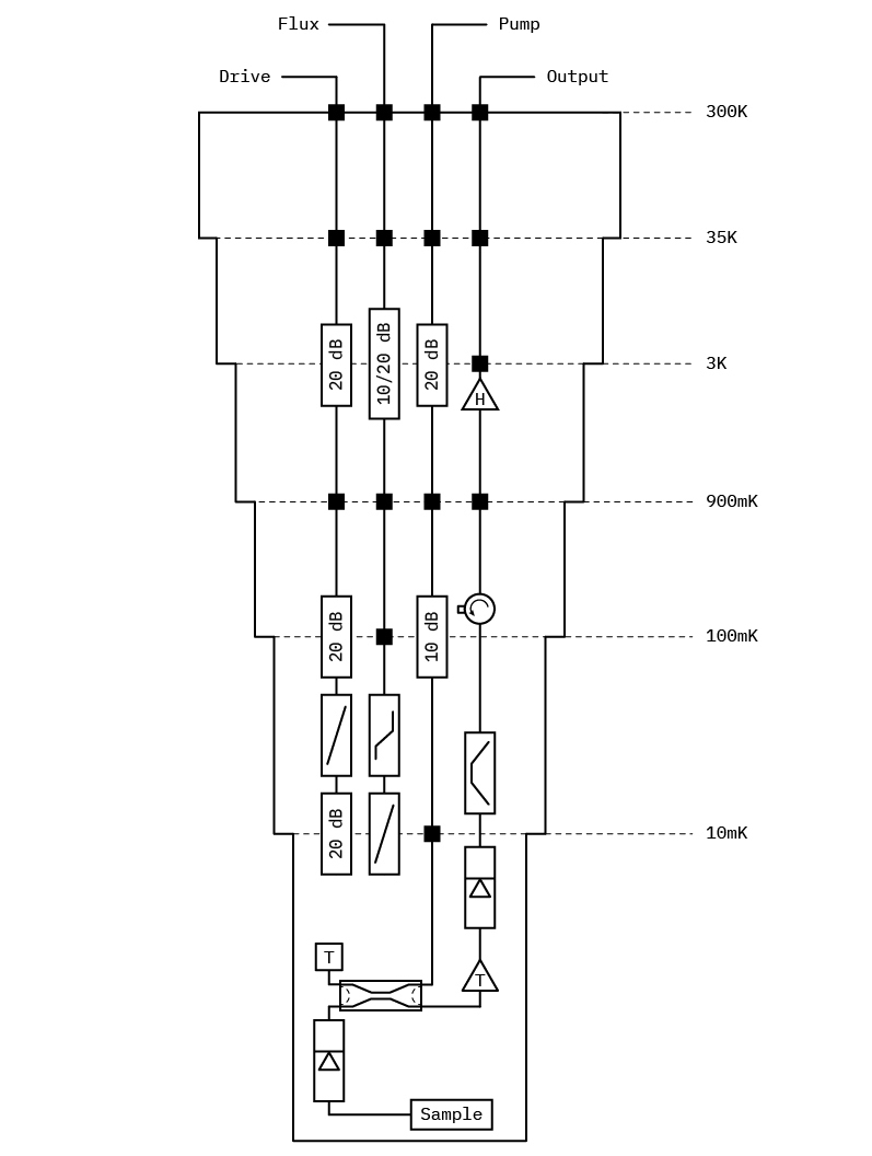
“To ensure the cooling is optimal, there are multiple stages within the fridge and every stage is cooled to a certain temperature,” explains Riemer Sorgedrager, System & Control Engineer at Delft Circuits. “The lower, and closer, you go to the chip, the more the temperature tends toward absolute zero. However, the cooler the stages get, the lower the dilution refrigerator cooling power is, therefore it is critical to minimize the heat transferred from one stage to the next.”

*A typical cryogenic setup cable scheme for superconducting qubits, inspired on “[Engineering cryogenic setups for 100-qubit scale superconducting circuit systems, S. Krinner et al.](https://epjquantumtechnology.springeropen.com/articles/10.1140/epjqt/s40507-019-0072-0)"*



At each of these cooling stages a thermal clamp is situated. You want to make sure the cable thermalizes properly to that stage. Doing this will ensure that the heat that is transported through the cable is being ‘captured’ at every stage, and has no possibility to travel further and eventually heat up the lowest stages where your sample is situated.

Comparison of the conventional wiring scheme of the dilution refrigerator and Delft Circuits’ multi-channel cabling unit with thermal clamps at each cooling stage

Manufacturing the thermal clamp

The material choice of the thermal clamps (one of the parts Delft Circuits manufactures through our platform) is very important. The material needs to be conductive and also non-magnetic, as any magnetic presence in the refrigerator could cause signal interference and influence the measurements.

In the end, the team settled on oxygen-free copper - a nice middle ground between a good level of conductance and price. Below 4 Kelvin the impurities in copper really come into play and affect their thermal conductance, which is why the copper needs to be as pure as possible, while also staying at a reasonable price point.

The finished thermal clamp, machined in C110 and gold plated

This copper is gold plated to improve its corrosion resistance. Usually when gold plating copper, a layer of nickel is added between the gold and copper to prevent the copper from dissipating into the gold. However, as nickel is magnetic, it could interfere with the signals in the refrigerator, so the Delft Circuits team decided to gold plate the copper without a nickel layer.

Thermal clamps placed at each cooling stage

The material of the screws, which hold the two components of the clamp together, is also critical. In the cooling system, materials shrink or expand in different ways. This means that if the material used for the clamp shrinks faster than the screws, the screws may lose their tightness. The best solution is to use a material for the screws that shrinks more than copper so that as they cool, you’re sure that the join only becomes tighter.

An efficient way to manufacture parts

Delft Circuits outsources the thermal clamps mentioned in this article, as well as other parts to us. “We love the network because its platform is so easy to operate and it’s really intuitive,” shares Artem Nikitin, Head of Sales, “the fast deliveries are great and the direct quoting has kind of set the standards for how we should work in our industry.”



Read more customer stories: